Fejl
Fejl
findes nemmest når der er dug eller is på bagruden, og fejlene mærkes
op på ruden med en tush, så de kan findes når ruden er gennemsigtig.
1.
Hvis
elbagruden overhoved ikke virker: Mål om der er 12 volts spænding mellem ledningerne på højre og venstre side at bagruden. Hvis det ikke er tilfældet er det højst sansynlig en af
ledningerne der er knækker, som går fra chassiet til bagsmækken øverst
til venster. Ledningerne ligger indeni i en gummi slange. Lod ledningen
sammen igen, men sæt et stykke forlænger ledning imellem så der ikke er en lodning,
hvor den går igennem gummislangen. Ellers kan fejlen ligge i kontakten på instrumentbrædtet.
2. En varmetråd virker ikke. Der er et eller flere brud på tråden. Varmetråden vil ikke opvarme ruden i hele trådens vandrette længde.

3. Dårlig forbindelse.Varmetråden har en skade men er ikke brudt. Når ruden varmes op vil brudstedet tø op først, derefter resten af varmetråden.
 4. Dårlig forbindelse efter reparation. Reparationen af varmetråden har sluppet kontakten med ruden. Varmetråden tør op, før hvor der er repareret.
5. For god forbindelse. Hvis reparationen af varmetråden, er lavet for bred i forhold til varmetråden, vil reparationsstedet tø op først, derefter resten af varmetråden.
Reparation


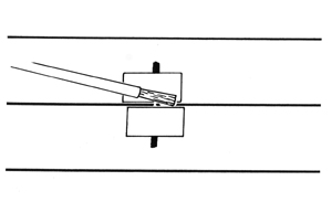
Hvis
det ikke lige er til at se hvor forbindelserne i varmetrådene er
knækket. Så tag en god lup, f.eks en frimærkelup (billed). Følg
varmetråden hele hele længden og marker hvor der er brud, hvis det ikke
kan ses, så marker hvor tråden er dårligst. Det kan hjælpe at tape et
stykke hvidt
papir på den anden side af bagruden, og eventuelt lyse på
papiret. Det burde ikke være vanskeligt at finde et brud. Man kan ikke
finde brudet ved at måle med et måleapparat.
Reparaturlak. Rækker langt og kan holde sig i flasken.
Kan købes hos T.Hansen. Lakken hedder 3863
Loctite Circuit+. Pris 2013 - 169,00 kr.

Marker
tydeligt på begge sider at tråden.

Sæt et
stykker isolerbånd (gerne farvet) på hver side af tråden. så tæt på
som muligt, uden at ramme tråden. Brug forsigtigt noget fint ståluld,
hvor der skal repareres. Tråden skal kun have lidt med stålulden, for
at
lakken bedre hæfter. Tør området med en fedtfjernende væske f.eks
cellulosefortynder. Ståluld er belagt ned en hinder der beskytter den
mod at ruste og det skal væk.
Påfør lakken, den
tørrer hurtigt.

Det færdige resultat.
|